PG¹ú¼Ê-´´Á¢ºÍÈö²¥ÎÄÓéÁìÓòµÄÓÅÃÀÌåÑéÓÎϷƽ̨

½Ó´ý¹âÁÙPG¹ú¼Ê-´´ÔìºÍ´«²¥ÎÄÓéÁìÓòµÄÃÀºÃÌåÑéÓÎϷƽ̨¹ÙÍø£¡

  • ¹ú¼Ò֪ʶ²úȨ¾Ö±¸°¸É̱êÊðÀí»ú¹¹
  • ¹ú¼Ò֪ʶ²úȨ¾Ö±¸°¸×¨ÀûÊðÀí»ú¹¹(»ú¹¹´úÂë37247)
  • ÇൺÊÐÊÖÒÕÌõԼЧÀ͵ã ÇൺÊпƼ¼Ð§¹û±ê×¼»¯ÆÀ¼Û»ú¹¹
  • ÌìÏÂ֪ʶ²úȨЧÀÍÆ·ÅÆÅàÓý»ú¹¹
  • ¹ú¼ÒÊÖÒÕ×ªÒÆÊ÷Ä£»ú¹¹

ÌìÏÂͳһ×Éѯµç»°£º

(0532)81117588

ÐÂÎÅ×ÊѶ

Ä¿½ñλÖÃ: Ê×Ò³ > ÐÂÎÅÖÐÐÄ > ÐÂÎÅ×ÊѶ

Ò»¸öÓÉÓÚ¡°ÂíÔú×Ó¡±´òÆðµÄËÏÊÂ

Ðû²¼Ê±¼ä£º2022-09-20 00:00:00ȪԴ£ºÉ̱êȦµã»÷£º0 ·µ»ØÁбí

         ×øÔÚÂíÔú×ÓÉϳÔ×Å¿¾´®ºÈ×ÅÆ¡¾Æ£¬£¬£¬£¬£¬£¬ÕâÊÇ´ó¶¼ÈËÏÄÈÕÒ¹ÉúÑÄ×îÏȵÄËõÓ°¡£¡£¡£¡£¡£¡£¡£¡£¶ø×î½ü£¬£¬£¬£¬£¬£¬ÓÐÁ½¼Òµ¥Î»È·ÓÉÓÚ“ÂíÔú×Ó”´òÆðÁËËÏÊ£»£»£»£»£»ÀíÓÉÊǶԷ½Ëðº¦ÁË“ÂíÔú×Ó”×¢²áÉ̱êȨ£¬£¬£¬£¬£¬£¬²¢ÒªÇóÅâ³¥×Ô¼º¾­¼ÃËðʧ12000Ôª¡£¡£¡£¡£¡£¡£¡£¡£

 
 
 
PG¹ú¼Ê¹ÙÍø
 
 
      “ÂíÔú×Ó²»ÊÇÉúÑÄÎïÆ·Â𣬣¬£¬£¬£¬£¬Ôõô»¹ÄÜרÊô£¿£¿ £¿£¿£¿£¿ £¿£¿”
      “ÄÇÊDz»ÊǰåµÊÒÎ×ÓÒ²ÄÜ×¢²á£¿£¿ £¿£¿£¿£¿ £¿£¿”……
       Öî¶àÍøÓѲ»½âµÄ̸ÂÛ¡£¡£¡£¡£¡£¡£¡£¡£
      “ÍòÎï½Ô¿ÉÉ̱ꔵÄ˵·¨Ò»Ê±³ÉΪÈÈÒé»°Ìâ¡£¡£¡£¡£¡£¡£¡£¡£
 
 

PG¹ú¼Ê¹ÙÍø

 
 
       É̱êµÄʵÖÊÔÚÓÚÇø±ð¿ª¹«ÖÚÊг¡ÉÏµÄÆäËûÉÌÆ·£¬£¬£¬£¬£¬£¬Ê¹ÉÌÆ·¾ßÓÐÏÔÖøÌØÕ÷¡£¡£¡£¡£¡£¡£¡£¡£¹«ÖÚÎïÆ·ÔÚ²»Î¥·´¡¶É̱귨¡·Öл®¶¨µÄ²»¿É×¢²á³ÉΪÉ̱ê»ò²»¿É»ñµÃ×¢²áÉ̱êµÄÇéÐΣ¬£¬£¬£¬£¬£¬·½¿É×¢²á¡£¡£¡£¡£¡£¡£¡£¡£Æ¾Ö¤ÎÒ¹úÉ̱귨µÚʮһÌõ»®¶¨£¬£¬£¬£¬£¬£¬ÒÔϼ¸ÖÖ±ê¼Ç²»¿É×÷ΪÉ̱ê×¢²á£º½öÓб¾ÉÌÆ·µÄͨÓÃÃû³Æ¡¢Í¼ÐΡ¢ÐͺŵÄ£»£»£»£»£»½öÖ±½ÓÌåÏÖÉÌÆ·µÄÖÊÁ¿¡¢Ö÷ÒªÖÊÁÏ¡¢¹¦Ð§¡¢ÓÃ;¡¢ÖØÁ¿¡¢ÊýÄ¿¼°ÆäËûÌØµãµÄ£»£»£»£»£»È±·¦ÏÔÖøÌØÕ÷µÄ¡£¡£¡£¡£¡£¡£¡£¡£
 
 
PG¹ú¼Ê¹ÙÍø
 
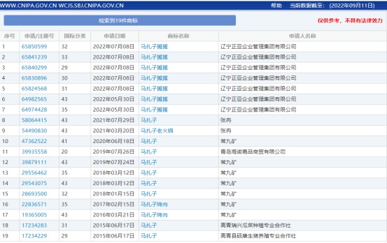
       ÅÌÎÊÏÔʾÇൺÂíÔú×ÓÆ·ÅÆÖÎÀíÓÐÏÞ¹«Ë¾µÄ·¨ÈË´ú±í¼°Êµ¿ØÈ˳£¾Å¿óÓÚ2017Äê4ÔÂ28ÈÕ¡¢2019Äê1ÔÂ14ÈÕ»®·Ö×¢²á“ÂíÔú×Ó¿¾È┡¢“ÂíÔú×Ó”É̱꣬£¬£¬£¬£¬£¬ÓÐÓÃÆÚ¾ùΪʮÄê¡£¡£¡£¡£¡£¡£¡£¡££¬£¬£¬£¬£¬£¬Çൺ¹«Ë¾ÒÔΪ£¬£¬£¬£¬£¬£¬Íþº£ÂíÔú×Óů¹øµêδ¾­ÔÊÐí£¬£¬£¬£¬£¬£¬ÔÚÆä¿ªÉèµÄů¹øµêÄÚʹÓÓÂíÔú×Ó”×ÖÑù£¬£¬£¬£¬£¬£¬ÇÖÕ¼ÁËÔ­¸æÇൺÂíÔú×Ó¹«Ë¾µÄÉ̱êרÓÃȨ¡£¡£¡£¡£¡£¡£¡£¡£
 
       ±»¸æÍþº£ÀÏů¹øµê±ç³Æ£¬£¬£¬£¬£¬£¬“ÂíÔú×Ó”“ÂíÔú”ÊÇ¶àµØÇø³£ÓÃ×ø¾ß£¬£¬£¬£¬£¬£¬·ÇÔ­¸æÇൺÂíÔú×Ó¹«Ë¾¶À´´´Ê¡£¡£¡£¡£¡£¡£¡£¡£“ÂíÔú×Óů¹ø”ÒâΪ“×ø×ÅÂíÔú³Ôů¹ø”£¬£¬£¬£¬£¬£¬±»¸æÔÚÆäµêËÁÖÐÒÔÂíÔúÈ¡´úµÊ×ÓµÄÉè¼Æ£¬£¬£¬£¬£¬£¬ÇкÏÃñË×ϰ¹ß£¬£¬£¬£¬£¬£¬²¢·ÇѧϰÇൺÂíÔú×Ó¹«Ë¾µÄı»®Ä£Ê½£¬£¬£¬£¬£¬£¬Î´ÇÖռɿ°¸É̱êȨ¡£¡£¡£¡£¡£¡£¡£¡£Íþº£ÂíÔú×ÓËäÈ»´ÓʲÍÒûЧÀÍ£¬£¬£¬£¬£¬£¬µ«Ä±»®µÄÊÇÀϱ±¾©Í­¹øäÌÈ⣬£¬£¬£¬£¬£¬ÓëÇൺÂíÔú×Óı»®µÄ¿¾ÈâÔÚı»®¹æÄ£¡¢×°ÐÞÆø¸ÅµÈ·½Ãæ±£´æ½Ï´ó²î±ð£¬£¬£¬£¬£¬£¬²»»áÔì³ÉÏà¹Ø¹«ÖÚ»ìÏý¡£¡£¡£¡£¡£¡£¡£¡£
 
       ·¨ÔºÑ¶¶ÏЧ¹ûΪ£¬£¬£¬£¬£¬£¬²Ã¶¨±»¸æËùʹÓõēÂíÔú×Ó”±êʶÓëÉæ°¸É̱ê×é³É½üËÆ£¬£¬£¬£¬£¬£¬±»¸æÍþº£ÀÏů¹øµêÐèÁ¬Ã¦×èֹʹÓÓÂíÔú×Ó”“ÂíÔú×ÓÀÏů¹ø”×ÖÑùµÄÐÐΪ£¬£¬£¬£¬£¬£¬²¢Åâ³¥Ô­¸æ¾­¼ÃËðʧ12000Ôª¡£¡£¡£¡£¡£¡£¡£¡£
 
       ×èÖ¹ÏÖÔÚ£¬£¬£¬£¬£¬£¬ÇൺÂíÔú×ÓÓÉÓÚÉ̱êÇÖȨÒÑÆðËß¶à¼ÒÆóÒµ£¬£¬£¬£¬£¬£¬°üÀ¨³£ÖÝÊо­¿ªÇøÒ£¹ÛÂíÔú×Ó²ÍÒûµê¡¢ÐìÖÝÊÐÍ­É½ÇøÂíÔú×ÓÉÕ¿¾ÉϺ£Â·µê¡¢ÈÕÕÕÊж«¸ÛÇøÇØÂ¥½ÖµÀÂíÔú×ÓÉÕ¿¾µêµÈ¡£¡£¡£¡£¡£¡£¡£¡£ÆäÖÐÐìÖݵꡢÈÕÕÕµê¾ù±»Åд¦ÇÖȨ£¬£¬£¬£¬£¬£¬ÒªÇóÅâ³¥16000Ôª¡¢12000Ôª¡£¡£¡£¡£¡£¡£¡£¡£  
 
       ÔÚÉ̱êÇÖȨ°¸¼þÖУ¬£¬£¬£¬£¬£¬È϶¨É̱êÏàͬ»ò½üËÆÓÐÈý¸öÔ­Ôò£ºÒ»ÊÇÒÔÏà¹Ø¹«ÖÚµÄÒ»Ñùƽ³£×¢ÖØÁ¦Îª±ê×¼£»£»£»£»£»¶þÊǼÈÒª¾ÙÐжÔÉ̱êµÄÕûÌå±È¶Ô£¬£¬£¬£¬£¬£¬ÓÖÒª¾ÙÐжÔÉ̱êÖ÷Òª²¿·ÖµÄ±È¶Ô£¬£¬£¬£¬£¬£¬±È¶ÔÓ¦µ±ÔڱȶԹ¤¾ß¸ôÀëµÄ״̬Ï»®·Ö¾ÙÐУ»£»£»£»£»ÈýÊÇÅжÏÉ̱êÊÇ·ñ½üËÆ£¬£¬£¬£¬£¬£¬Ó¦µ±Ë¼Á¿ÇëÇó±£»£»£»£»£»¤×¢²áÉ̱êµÄÏÔÖøÐÔºÍ×ÅÃû¶È¡£¡£¡£¡£¡£¡£¡£¡£
 
       ÔÚ“ÂíÔú×Ó”Ö®ÕùÖУ¬£¬£¬£¬£¬£¬ÇൺÂíÔú×ÓʤËßÔÚÉæ°¸É̱êÊÇÕýµ±ÓÐÓÃ×¢²áÉ̱꣬£¬£¬£¬£¬£¬È¨ÊôÎÞÕùÒé¡£¡£¡£¡£¡£¡£¡£¡£±»¸æÍþº£·½Ê¹ÓÃÁËÓëÔ­¸æ×¢²áÉ̱êÏàͬ»ò½üËÆµÄ±êʶ£¬£¬£¬£¬£¬£¬ÇÒ±»¸æ´ÓʵÄů¹øÓëÔ­¸æ¿¾Èâ¶¼ÊôÓÚµÚ43Àà²ÍÒûЧÀÍÀ࣬£¬£¬£¬£¬£¬ÊôÓÚÏàͬÀàËÆÐ§ÀÍ¡£¡£¡£¡£¡£¡£¡£¡£  ¾ÝÉ̱귨µÄ»®¶¨£¬£¬£¬£¬£¬£¬Î´×öÉúÒâ±êȨÈ˵ÄÔÊÐí£¬£¬£¬£¬£¬£¬ÔÚͳһÖÖЧÀÍÉÏʹÓÃÓëÆä×¢²áÉ̱ê½üËÆµÄÉ̱꣬£¬£¬£¬£¬£¬ÈÝÒ×µ¼Ö»ìÏýµÄ£¬£¬£¬£¬£¬£¬×é³ÉÇÖÕ¼×¢²áÉ̱êȨµÄÐÐΪ¡£¡£¡£¡£¡£¡£¡£¡£ÈçȨÁ¦ÈËÒÔΪÉ̱êϵ±»ËûÈ˶ñÒâÇÀ×¢£¬£¬£¬£¬£¬£¬»òÕß¶Ô¸Ã×¢²áÉ̱êÓÐÒìÒ飬£¬£¬£¬£¬£¬¿ÉÒÔÆ¾Ö¤ÉÌ±ê¹æÔò¶¨µÄ·¨¶¨³ÌÐòÌá³öÒìÒé»òÕßÉêÇë×÷·Ï¡£¡£¡£¡£¡£¡£¡£¡£
 
  • PG¹ú¼Ê¹ÙÍø

    ¸ßÆ·ÖÊЧÀÍ

    Ò»¶ÔÒ»£¬£¬£¬£¬£¬£¬Ð§ÀÍÖªÐÄÖÜÃÜ£¬£¬£¬£¬£¬£¬¼ÛÇ®¹ûÕæÍ¸Ã÷
  • PG¹ú¼Ê¹ÙÍø

    ¿ìËÙÏìÓ¦¿Í»§ÐèÇó

    һվʽÊÖÐøÖÎÀí£¬£¬£¬£¬£¬£¬Íê³ÉÉúÒâÁ÷³Ì
  • PG¹ú¼Ê¹ÙÍø

    È«³Ì¸ú×ÙЧÀÍ

    ËæÊ±Ïàͬ¿Í»§£¬£¬£¬£¬£¬£¬ÖúÁ¦Í¨¹ý
  • PG¹ú¼Ê¹ÙÍø

    ר¼Ò¼¶Ö¸µ¼

    רҵµÄ̸Åм°Ö¸µ¼£¬£¬£¬£¬£¬£¬Ò»¶ÔÒ»¾­¼ÍÈË
  • PG¹ú¼Ê¹ÙÍø

    ×ÊÉîЧÀÍÍŶÓ

    רҵ³ÏÐÅ£¬£¬£¬£¬£¬£¬ÓÅÖʸßЧ£¬£¬£¬£¬£¬£¬ÑÏ¿áΣº¦°Ñ¿ØÓë¼û¸æ
  • PG¹ú¼Ê¹ÙÍø

    ƽ̨°ü¹ÜÈ«³ÌЧÀÍ

    רҵÕÕÁÏһվʽһ¶ÔÒ»Ö¸µ¼Ð§ÀÍ
¡¾ÍøÕ¾µØÍ¼¡¿¡¾sitemap¡¿