PG国际-创立和撒播文娱领域的优美体验游戏平台

接待光临PG国际-创造和传播文娱领域的美好体验游戏平台官网!

  • 国家知识产权局备案商标署理机构
  • 国家知识产权局备案专利署理机构(机构代码37247)
  • 青岛市手艺条约效劳点 青岛市科技效果标准化评价机构
  • 天下知识产权效劳品牌培育机构
  • 国家手艺转移树模机构

天下统一咨询电话:

(0532)81117588

位置: 首页 > 新闻中心 > 新闻资讯
向下箭头
新闻资讯

目今位置: 首页 > 新闻中心 > 新闻资讯

天府可乐休业整理 ,,,,,,,,企业注销商标如那里置???? ?

宣布时间:2023-01-13 00:00:00泉源:知产时势点击:0 返回列表

       克日 ,,,,,,,,重庆第五中级人民法院宣布了中国天府可乐集团公司(重庆)的休业整理的通告 。。。。。。 。。据相识 ,,,,,,,,天府可乐曾是中国可乐品牌第一 ,,,,,,,,最高的时间占有其时中国可乐市场的75% 。。。。。。 。。

       天府可乐绚烂不再

       天府可乐起身于四川成都 ,,,,,,,,建设于1988年10月 ,,,,,,,,注册资源1252.8万元人民币 。。。。。。 。。在上世纪80年月抵达绚烂时期 ,,,,,,,,天府可乐曾被定为国宴用饮料 。。。。。。 。。其时 ,,,,,,,,天府可乐在全中国建有108家联营厂 ,,,,,,,,年销量高达20多万吨 ,,,,,,,,利税凌驾7000万 。。。。。。 。。

PG国际官网

       厥后 ,,,,,,,,由于适口可乐和百事可乐在中国汽水市场的强盛渗透率 ,,,,,,,,天府可乐虽然依附“情怀”回归 ,,,,,,,,吸引了大批消耗者关注 ,,,,,,,,但一波热门已往之后 ,,,,,,,,它也难敌两大主流品牌的竞争 。。。。。。 。。

       现在 ,,,,,,,,天府可乐对外共投资4家企业 ,,,,,,,,但均已注销、吊销; ;;; ;天府可乐的多家分支机构也所有注销、吊销 。。。。。。 。。危害信息显示 ,,,,,,,,天府可乐自2022年5月起 ,,,,,,,,已多次被申请休业重整 。。。。。。 。。

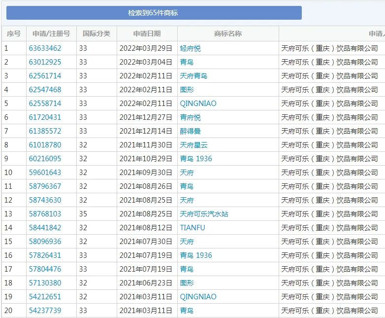
        据中国商标网盘问显示 ,,,,,,,,天府可乐共计申请商标65件 ,,,,,,,,其中大多仍处于有用的状态 。。。。。。 。。

        企业注销商标如那里置???? ?

        首先 ,,,,,,,,列位需要熟悉到:商标是企业的无形资产 ,,,,,,,,它是有价值的 ,,,,,,,,在注销公司的同时 ,,,,,,,,万万不要忘了尚有这份无形资产的保存 。。。。。。 。。

       执法划定:公司注销后商标可以在一年之内转让 ,,,,,,,,也可以提交注销商标申请 ,,,,,,,,若是公司在注销时未将商标转让 ,,,,,,,,关于已经决议归属的 ,,,,,,,,则企业可以通过移转将商标转移出来 。。。。。。 。。

       也就是说 ,,,,,,,,公司主体消逝一年后 ,,,,,,,,商标会自动被注销 。。。。。。 。。一年内可以凭相关注销的证实来转移、转让商标 ,,,,,,,,一年后就没有这个权力了 。。。。。。 。。

 

PG国际官网

        一样平常来说 ,,,,,,,,有以下方法对商标举行处置惩罚:

       归某个股东所有:对遗忘处置惩罚的公司资产 ,,,,,,,,在公司注销后 ,,,,,,,,应归其股东配合所有;其股东在承继公司资产的规模内 ,,,,,,,,继续对该公司未清偿的债务肩负责任 。。。。。。 。。

       转到小我私家名下:可以将商标通过商标转让的方法转到小我私家名下 ,,,,,,,,以便后续使用或其他方法使用 。。。。。。 。。

       转到其他公司:若是企业尚有其他公司的话 ,,,,,,,,可以转让到其他公司的名下 。。。。。。 。。

       商标移转:好比企业合并、分立或改制后的权力义务承继者 ,,,,,,,,该企业注销后承继其权力义务的股东或投资者 ,,,,,,,,以及依法院裁定强制执行移转给新的权力人 。。。。。。 。。

       商标出售:商标注册人在注册商标的有用期内,凭证法定的程序,将商标的专用权转让给另一方的一种行为 ,,,,,,,,可以将无形资产化有形 ,,,,,,,,创立经济收益 ,,,,,,,,商标的价值没有统一标准 ,,,,,,,,一样平常来说 ,,,,,,,,辨识度高的、寓意优美的、有着名度的商标价钱更高 ,,,,,,,,通常情形下 ,,,,,,,,市面上的商标都在1万-3万元之间 。。。。。。 。。这主要是取决于商标的名称是否顺口 ,,,,,,,,字数的几多 ,,,,,,,,是否切合项目的定位等因素 。。。。。。 。。

       最后提醒各人:公司注销后要接纳响应的步伐转让或转移商标 ,,,,,,,,若是置之不睬 ,,,,,,,,商标就会随着公司的注销一起消亡 。。。。。。 。。

  • PG国际官网

    高品质效劳

    一对一 ,,,,,,,,效劳知心周密 ,,,,,,,,价钱果真透明
  • PG国际官网

    快速响应客户需求

    一站式手续治理 ,,,,,,,,完成生意流程
  • PG国际官网

    全程跟踪效劳

    随时相同客户 ,,,,,,,,助力通过
  • PG国际官网

    专家级指导

    专业的谈判及指导 ,,,,,,,,一对一经纪人
  • PG国际官网

    资深效劳团队

    专业诚信 ,,,,,,,,优质高效 ,,,,,,,,严酷危害把控与见告
  • PG国际官网

    平台包管全程效劳

    专业照料一站式一对一指导效劳
【网站地图】【sitemap】